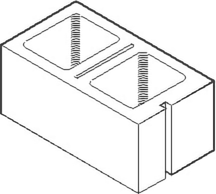
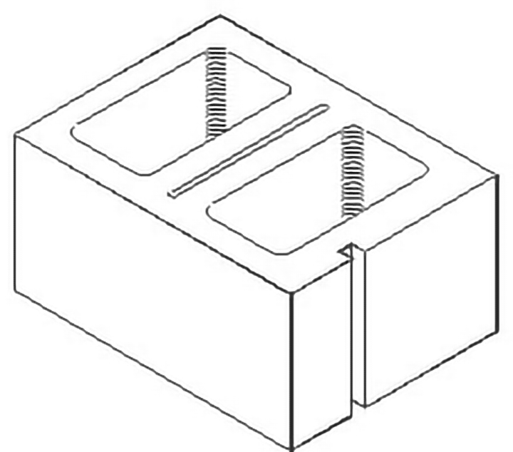
SCMU
Our standard concrete masonry unit is available in 5 different sizes so we are sure to accommodate any residential or commercial project you may have with energy efficiency guaranteed.
Sizes Available:
6" Block
View more
8" Block
View more
10" Block
View more





































































